
واقعیت جریان الکتریکی : باور عام و حقیقت
نویسنده : حمید وثیق زاده انصاری
منبع : راسخون
منبع : راسخون
مقدمه
در این مقاله با درنظر گرفتنِ مشابهتِ کاملی که بین جریان الکتریکی و جریان مکانیکیِ آب وجود دارد نشان داده میشود که، واقعاً، وجود جریان رسانشی وجود هیچ میدان الکتروستاتیکیای را در رسانای حامل جریان (یا سیم) ایجاب نمیکند، و اختلاف پنانسیل در اینجا غیر از اختلاف پنانسیل در مبحث الکتروستاتیک میباشد، و با این روش قانون اهم را بهدست میآوریم.
مدارِ آبی و قانون اهم
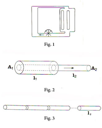
.jpg)
بیایید ببینیم وقتیکه سرعت گردش آب در مدار به حد ثابتی رسیده است هرقسمت از مدار چگونه انرژی پمپ را به گرما تبدیل میکند. یک قطره ی معین از آب را درست وقتیکه پرّهای از پمپ مستقیماً درحالِ اِعمال نیرو به آن است تصور کنید. این قطره توسط این نیرو بهجلو رانده میشود (اما چون موقعیت سرعتِ ثابت آب را درنظر گرفتهایم این قطره بر اثرِ این نیرو شتاب نمیگیرد). وقتی قطره کمی بهجلو هُل داده شده، پرههای پمپ بر قطرهی معادلِ دیگری نیرو وارد میکنند که این نیرو را مستقیماً به قطرهی بهجلو هُل داده شدهی قبلی منتقل مینماید. بههمین طریق دیده میشود که پمپ بهطور مستقیم و غیرمستقیم بر قطرهی نخست درطی گردش آن در مدار نیرو وارد میآوَرَد. چون درحالیکه این نیرو بر قطره وارد میشود قطره جابهجا میشود، این نیرو(ی اِعمال شده توسط پمپ) بر قطره کار انجام میدهد. بدینترتیب انرژیِ داده شدهی پمپ به قطره همین کارِ انجام شده بر قطره است که ما آنرا با V نشان داده و آنرا به اختلافِ پتانسیلی بین دو نقطهی مربوطهی مدار نسبت میدهیم (منظور ما از «اختلاف پتانسیل» کار انجام شده بر این قطرهی معین (استاندارد) بهوسیلهی نیروی اِعمالی فوقالذکر درطی جابهجاییِ بین دو نقطه است). اما میدانیم که این کار انرژی جنبشی قطره را افزایش نمیدهد. پس، بر سرِ این کار که برطبق قانون بقای انرژی ازبین نمیرود چه میآید؟ پاسخ این است که این کار بهصورت حرارتِ ناشی از اصطکاک ظاهر میشود، یعنی حرارتِ ناشی از تقابلِ قطره با قَطَراتِ سر راهِ آن که با اِعمال نیروی مخالف (و بالتبع انجام کار منفی) سعی میکنند مانع از شتاب گرفتنِ قطره شوند.
حال اجازه دهید ببینیم هنگامی که سرعت گردش آب در مدار بهحد ثابت رسیده است هر قسمت از مدار چه مقدار از انرژیِ پمپ را به حرارت تبدیل میکند. فرض کنید قسمتی از مدار چیزی باشد که در شکل 2 نمایانده شده است که در آن فِلِش نشاندهندهی جهت جریان آب است. فرض کنید دو طول l1 و l2 مساوی باشند. میخواهیم ببینیم بزرگی نیروی فوقالذکر (ناشی از پمپ) اِعمال شده بر قطرهی استاندارد فوقالذکر در قسمت l2، درصورتیکه این نیرو در قسمت l1، F باشد، چه خواهد بود. اگر تنها لولهی نشان داده شده با خط نقطهچین، که سطح مقطعِ آن برابر با A2 بوده و درست مقابلِ لولهی l2 قرار گرفته است، قرار بود جابهجا شده و بر آبِ لولهی l2 نیرو وارد کند، در آن صورت نیروی فوقالذکر در قسمتِ l2 همچنان همان F میبود. اما این تنها لولهی نقطهچین نیست که جابهجا میشود، و واضح است که با وارد شدن به لولهی l2 تمامِ آبِ لولهی l1 جابهجا خواهد شد زیرا دو لولهی l1 و l2 سری شدهاند و جریان آب، که آنرا با I مینمایانیم، در هر دو یکسان است. تمامِ لولهی l1 از لحاظ تعداد دربردارندهی A1/A2 لوله، هر یک معادل با لولهی l2، میباشد، و موقعیت شبیه به وقتی است که این تعداد لوله بهطور سری قرار گرفته و با انتقالِ نیروهای خود بهیکدیگر نهایتاً نیرهای خویش را بر لولهی l2 وارد میآورند (شکل 3 را ببینید). واضح است که دراین حالت نیروی فوقالذکرِ اِعمال شده بر قطرهی مذکور در قسمتِ l2 برابر با (A1/A2)F میباشد. ازآنجا که نسبتِ این نیرو به نیرویِ اِعمال شده بر قطره در قسمتِ l1 (یعنی F) برابر با A1/A2 میباشد نتیجه میگیریم که نیروی وارد شده بر قطرهی استاندارد بهطورِ معکوس با سطح مقطعِ قسمتی از لوله که قطره در آن قرار دارد متناسب است. بدینترتیب کارِ انجام شده بهوسیلهی نیروی مذکورِ اِعمال شده بر قطره نیز بهطور معکوس متناسب با سطح مقطع قسمتی از لوله که قطره در آن قرار دارد میباشد، و چون میدانیم که این کار متناسب با طولِ قسمتی از لولهی دارای سطح مقطع ثابت که قطره باید طی کند میباشد، پس رویهمرفته این کار متناسب با l/A میباشد که در آن l طول آن قسمت از مدار است که دارای سطح مقطع ثابتِ A میباشد. بهعبارتِ دیگر این قسمت از مدار انرژیای از پمپ متناسب با l/A را بهصورتِ حرارت تلف مینماید.
روشن شد که در قسمتهای سِریِ مدار هرجا نسبت l/A بیشتر میبود، انرژی بیشتری از پمپ بهصورتِ حرارت تلف میشد. پس نسبت l/A دلالت بر مقاومت در برابر جریان آب در آن قسمت از مدار دارد، و ما آنرا، وقتی در یک ضریب ثابت معین، c، ضرب شود بهعنوان «مقاومت» در مدار آبی تعریف کرده و با R نشان میدهیم. بدینترتیب نشان دادیم که اگر جریان (I) ثابت باشد (که این هنگامیکه مقاومتها سری باشند اتفاق میافتد)، آنگاه اختلاف پتانسیل بین دو انتهای یک مقاومت (V) متناسب خواهد بود با مقاومت (R=c(l/A)).
حال قسمتی از مدار را بهصورتی که در شکل 4 نمایانده شده است درنظر بگیرید. کار انجام شده بهوسیلهی نیروی فوقالذکر بر روی قطره بههنگام عبور از این ثقسمت از مدار، مستقل از انتخاب مسیرِ p، q، یا r میباشد، اما جریان آب در این سه مسیر متناسب با سطح مقطعهای آنهاست. همچنانکه میتوانیم ببینیم میزانِ ممانعتِ p بیشتر از مالِ q، و از آنِ q بیشتر از مالِ r میباشد. پس ملاکی که در این حالت برای مقاومت بهدست میآوریم همان تناسبِ آن با عکسِ سطح مقطع است، و چون در این حالت l برای مقاومتهای موازی یکسان است همان تعریف R=c(l/A) همچنان برای مقاومت، درست است. بدینسان نشان دادیم که اگر اختلاف پتانسیل (V) ثابت باشد (که این هنگامی که مقاومتها موازی باشند اتفاق میافتد)، آنگاه جریان در هر مقاومت (I) بهطور معکوس متناسب خواهد بود با مقاومت (R=c(l/A)).
.jpg)
mdv/dt=F-Gv
وقتیکه سرعت قطره (یعنی سرعت آب) ثابت شده است، داریم dv/dt=0 و درنتیجه v=(1/G)F، یعنی v متناسب است با F، و چون در مقاومت ثابت، v متناسب با I و F متناسب با V میباشد نتیجه میگیریم که اگر مقاومت (R) ثابت باشد آنگاه جریان (I) متناسب خواهد بود با اختلاف پتانسیل (V).
بهطور خلاصه نشان دادیم که اگر I ثابت باشد آنگاهV R∝، و اگر V ثابت باشد آنگاه(1/I) R∝، و اگر R ثابت باشد آنگاه I∝V. از این سه استنتاج نتیجه میگیریم که R∝(V/I) که همان رابطهی مشهورِ قانون اُهم در مدارهای الکتریکیِ اُهمی میباشد.
در اینجا بهجاست که حلِ کامل معادلهی اخیر (mdv/dt=F-Gv) را بهدست آوریم. درصورتیکه شرط اولیه، v(0)=0 باشد این جواب عبارت خواهد بود از v(t)=(1/G)F(1-exp(-Gt/m)). بدینترتیب زمان استراحت، τ=m/G میباشد. از آنجا که همچنانکه گفتیم G متناسب با m است، زمان استراحت τ مستقل از m میباشد. بهنحو مشابه، ازآنجاکه نیروی F فوقالذکر وارد شده بر جِرم m (ناشی از پمپ) بهوضوح متناسب با جرم m است، سرعت نهایی قطره v=(1/G)F، که در آن هردوی F و G متناسب با m هستند، نیز مستقل از m است. بهعبارت دیگر هردوی زمان استراحت، یعنی زمانی که سرعتِ آب برای رسیدن به حد ثابتِ خود نیاز دارد (ابتدای مقاله را ببینید)، و سرعت نهاییِ جریان، همچنانکه مورد انتظار است مستقلند از اینکه بزرگی یا جِرم قطرهی استاندارد ما چیست.
همچنانکه کاملاً واضح است مشابهت کاملی بین مدار آبیِ فوقالذکر و یک مدارِ بستهی الکتریکی که در آن بارِ واحدِ یک کولمبی نقش قطرهی استاندارد فوقالذکر را بازی مینماید وجود دارد، و درواقع در مدارهای الکتریکی اتفاقی کاملاً مشابه رخ میدهد، نه آنچنانکه درحالحاضر تصور میشود میدانی الکتروستاتیکی ناشی از باطری در سیمهای مدار باعث جاری شدنِ جریان الکتریکی در مدار الکتریکی میگردد[2]! تنها نقشِ منبع تغذیه، مثلاً باطری، (مشابه با نقش پمپ آب) بهگردش درآوردنِ (جریانِ) الکترونهای ظرفیتیِ سیمها با استفاده از واکنشهای شیمیایی یا اثرهای الکترومغناطیسی یا ... میباشد و نه چیزِ دیگر؛ نه تولیدِ میدانِ الکتروستاتیکی که مستلزم وجود کُپهی بار خالص است که واقعاً وجود ندارد.
حقیقت این است که بهاشتباه تصور میشود که هرجا جریان رسانشی الکتریکی (I) و اختلاف پتانسیل (V) وجود دارد باید بهعلت وجود میدانی الکتروستاتیکی در آنجا بهوجود آمده باشند؛ درحالیکه برای جریان الکتریکیِ جاری شده در یک مدار بسته بهوسیلهی یک منبع تغذیه، مثلاً باطری، اینگونه نیسست، بلکه، کاملاً مشابه با آنچه در مدار آبی فوقالذکر دیدیم، این تنها انتقالِ نیروی وارد شده بر الکترونها در باطری (یا در منابع تغذیهی دیگر) است که باعثِ حرکت آنها در سرتاسرِ مدارِ بسته میشود نه وجودِ هیچ میدانِ الکتروستاتیکی در سیمها. بهعلاوه، اختلاف پتانسیل، که منظور ما از آن میزان کار انجام شده بر یک کولمب بار الکتریکی (یا بر یک قطرهی استاندارد) بههنگام انتقال از یک نقطه به نقطهای دیگر میباشد، لزوماً بهعلت میدانی الکتروستاتیکی ایجاد نمیگردد، بلکه همانطور که دیدیم نیروهای فوقالذکرِ اِعمال شده بهوسیلهی باطری و منتقل شده از میانِ قطارِ الکترونها میتواند موجد آن باشد.
توجه به این نکته نیز جالب است که همانطور که پیش از این (هنگام بحث در مورد حل کامل معادله) استدلال کردیم، زمان استراحت τ بارِ استاندارد و سرعت نهایی v آن، مستقل از جرم (و نیز بار) بار (استانداردِ) انتخاب شده بهعنوانِ بار واحد میباشند (ولذا برخلاف آنچه تصور میشود [1] به جِرم یا بارِ الکترون بستگی ندارند)، و تنها به جنس رسانا بستگی دارند، زیرا G به آن بستگی دارد.
اکنون بیایید ببینیم هنگامیکه میدان الکتروستاتیکیِ E در یک رسانای اُهمی اِعمال شده و باعث تولیدِ چگالیِ جریان موقتیِ J میگردد (که سرانجام منجر به توزیع مناسب بار در این رسانا بهگونهای خواهد شد که میدان در درونِ آن صفر و بر سطح آن عمود باشد) آیا واقعاً رابطهی خطی J=gE صادق است یا نه. نقطهای را در درون رسانا در زمانی که میدان الکتروستاتیکی هنوز اِعمال نشده است درنظر بگیرید. الکترونهای ظرفیتی درحالِ استقرار خویش در کنار اتمهایشان میباشند. اکنون لحظهای را مجسم کنید که یک میدان الکتروستاتیکی در این نقطه اِعمال گردد. مسلماً اینگونه نیست که بلافاصله پس از اِعمالِ میدان در این نقطه، بدون سپری شدنِ هیچ زمانی، چگالیِ جریان J در این نقطه جاری شود. کاملاً روشن است که فاصلهی زمانیای برای اینکه الکترونهای ظرفیتی از اتمهایشان جدا شده و با جاری شدن ایجاد چگالی جریان نمایند لازم است. درست در ابتدای این فاصلهی زمانی، هنگامیکه در این نقطه میدانِ E وجود دارد، جریانی در آنجا وجود ندارد (یعنی J صفر است). پس از گذشتِ کسری از فاصلهی زمانی مذکور، جریانی جاری میشود (یعنی J به کسری از ماکزیممِ خویش میرسد)، و چون همین مقدار جریان کسری از توزیع نهاییِ بار را (که میدان در درون رسانا را صفر خواهد کرد) انجام میدهد، میدانِ E نیز با کاهش یافتن نسبت به میزان ماکزیممِ خود (و با میل کردن بهسمت صفر) کم میشود. این روند تا هنگام رسیدنِ جریان به ماکزیمم خویش که همزمان با یک میدانِ کاهش یافتهی بیشتر میباشد ادامه مییابد. پس از آن هردویِ E و J با میل کردن بهسمت صفر کاهش خواهند یافت. بهطور خلاصه روند تغییرات همزمان E و J را بهصورت نموداری میتوانیم در شکل 5 ملاحظه نماییم. آنچه بهطور قطع میتوان نتیجه گرفت این است که E و J هیچ رابطهی خطی با یکدیگر بهصورت J=gE با ضریب ثابت g حتی برای محیطهای اُهمی ندارند.
آیا جریان متناوب پایا نمیباشد؟
مقاومت ناشی از پیکربندی مدار
توجه به مثال زیر موضوع را روشن میکند. تکهای از یک سیم حامل جریان (از یک مدار) را درنظر گیرید (شکل 6(a)). (فرض کنید که فلش، جهت حرکت الکترونها را نشان میدهد.) از این تکه، حلقهای مشابهِ آنچه در شکل 6(b) نشان داده شده است بسازید بهگونهای که اولاً قسمتِ ab از مسیرِ «رفت» (مربوط به شاخهی (ورودی) چپ) از حلقه بسیار نزدیک اما (فعلاً) غیرِ مماس با قسمتِ ab از مسیر «برگشت» (مربوط به شاخهی (خروجی) راست) از حلقه باشد، و ثانیاً این دو قسمتِ مسیرهای «رفت» و «برگشت» (یعنی abها) کاملاً موازی با یکدیگر باشند. واضح است که جریان در قسمتِ ab از هرکدام از مسیرهای «رفت» و «برگشت» همچنان از چپ به راست و دارای همان مقدار جریان مدار است.
.jpg)
اکنون تصور کنید که این دو قسمت ab بهیکدیگر جوش خوردهاند، و در فاصلهی بین a و b تنها یک سیم منفرد با ضخامتی برابر با ضخامت سیم در دیگر قسمتهای مدار (و حلقه) داریم. در اینحال اگر ما بخواهیم وضعیت را درست قبل از اتصال دو قسمتِ «رفت» و «برگشت» ab آنگونه که در بالا توضیح دادیم مجسم کنیم، باید بگوییم که قبل از تماس آرام فوقالذکر، سطح مقطع مدار در قسمت «رفت» ab و نیز در قسمت «برگشت» ab نصف سطح مقطع در دیگر قسمتهای مدار است، لذا سرعت الکترونها در هرکدام از دو قسمتِ «رفت» و «برگشت» ab دوبرابرِ سرعت الکترونها در دیگر قسمتهای مدار است. حال اگر این دو قسمتِ باریک شدهی «رفت» و «برگشت» ab در تماس با یکدیگر قرار کیرند (به هم جوش بخورند) و نیز اگر جریانها قرار نباشد تغییر کنند، وضعیت بهگونهی نشان داده شده در شکل 7 خواهد بود، یعنی، آنچنانکه در این شکل میبینیم، برطبق استدلالِ فوق با فرض عدم تأثیر پیکربندی بر چگونگیِ توزیع جریان، انتظار داریم که جریان در قسمت ab مدار دوبرابرِ جریان عمومی مدار باشد که، البته، نیمی از آن بهعنوان جریانِ «برگشت» (پادساعتگرد) در حلقه خنثی میشود. روشن است البته که اصولاً واقعاً اینگونه نخواهد بود زیرا قاعدتاً، همانگونه که گفتیم، اصولاً انتظار داریم که به این علت که، در مسیر جریان، نقطهی a قبل از b واقع شده است جریان در حلقه، (ساعتگرد) از a به b باشد.
.jpg)
مکانیسم عمل ترانزیستور
میدانیم که برخی موادِ مختلف هنگامیکه با یکدیگر مالش داده شوند بار الکتروستاتیکی در خود جمع میکنند. دو مادهی نمونه از این نوع را درنظر گیرید و آنها را 1 و 2 بنامید. فرض کنید هنگامی که آنها در تماس با یکدیگر قرار گیرند مقداری الکترون از 1 به 2 جاری میشود. آنچه در این بحث برای ما مهم است تمایلی است که (بههر دلیل، مثلاً بهدلیل ساختمان مولکولی مواد) در تماس بین 1 و 2 برای جاری شدن الکترونها از 1 به 2 وجود دارد.
حال بیایید قطب منفی یک باتری را به 1 و قطب مثبت آنرا به 2 وصل کنیم. باتری به این گرایش دارد که الکترونها را به جریان از قطب منفیاش بهطرف قطب مثبتاش در یک مدار خارج از باتری، بهگونهای که خودِ باتری قسمتی از مدار باشد، وادارد. چنین جریانی با درنظر گرفتن روش اتصال فوقالذکر از 1 به 2 خواهد بود. اما، همانگونه که گفتیم، صرف نظر از تحریک باتری، خودِ مواد 1 و 2 دارای تمایلی برای برقراری جریانی الکترونی از 1 به 2 میباشند. پس روشن است که باتری جریانی از الکترون، از 1 به 2، برقرار خواهد کرد بدون اینکه با مقاومت زیادی (ناشی از اتصال 1-2) روبهرو شود.
اما هنگامی که قطب منفی باتری به 2 و قطب مثبت آن به 1 وصل شود، باتری مشابهِ قبل میخواهد جریانی از الکترون از قطب منفیاش بهطرف قطب مثبتاش در مداری برقرار کند که خود باتری قسمتی از آن است، و این جریانی الکترونی از 2 به 1 را ایجاب میکند که مخالف تمایل طبیعی اتصالِ 1-2 است؛ پس، جریان الکترونی مدار با مقاومت زیادی در اتصال 1-2 روبهرو خواهد شد. بهعبارت دیگر برای غالب آمدن بر این مقاومت اضافی به این منظور که جریانی با همان شدت قبل در مدار داشته باشیم لازم است از باتریای با ولتاژی یالاتر استفاده کنیم.
اجازه دهید تمایل یک اتصال برای برقراری جریانی الکترونی را با پیکانی در جهت این تمایل نشان دهیم. فرض کنید در یک قطعه دو اتصال مجاور از نوع فوقالذکر (که تمایل طبیعی برای جاری ساختن الکترونها دارند) اما با دو جهت تمایل مختلف داریم؛ شکل 9 را ببینید. چنین قطعهای را ترانزیستور مینامیم.
.jpg)
اگر مدار شکل 11 را با استفاده از یک ترانزیستور از نوع (b) در شکل 9، بسازیم مشاهده خواهیم کرد که درحالیکه کلید off است تنها یک جریان ضعیف پادساعتگرد از الکترونها در حلقهی راست وجود خواهد داشت. و هنگامی که کلید on است یک جریان پادساعتگرد از الکترونها در حلقهی چپ شروع شده و افزایش خواهد یافت. این جریان چنان شدید خواهد شد که سرانجام قسمتی از جریان الکترونی که قبلاً در سیم میانی در نقطهی c بهطرف 2 جاری بود اکنون بر حلقهی راست اِعمال (یا در آن وارد) خواهد شد و باعث افزایش جریان الکترونی پادساعتگرد ضعیف این حلقه میشود. این اتفاق مؤثرتر خواهد بود اگر مادهی 2 نازکتر و پهنتر باشد زیرا دراین حال الکترونهای عبورکننده از میان اتصال 3-2 راحتتر و مؤثرتر بر اتصال 2-1 اِعمال (یا بهزور رانده) میشوند (و باعث افزایش جریان الکترونی عبورکننده از میان باتری چپ میشوند که نهایتاً باعث افزایش بیشتر در جریان الکترونی عبورکننده از میان باتری راست خواهند شد).
.jpg)
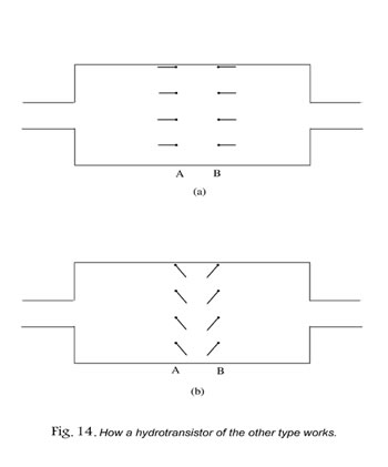
ما میتوانیم برای یک ترانزیستور نیز یک مشابه مکانیکی (یا هیدرودینامیکی) معرفی کنیم که خود به درک بهتر مکانیسم عمل ترانزیستور کمک میکند. بیایید آنرا آنچنان که در شکل 12 نشان داده شده است بسازیم. در این شکل تعدادی تیغهی لولا شده یکی بعد از دیگری در دو سطح مجاور A و B، آنچنانکه سطح مقطع آنها در این شکل نشان داده شده است، نصب شدهاند. فرض کنید که در یک نوع از هیدروترانزیستور فوقالذکر تیغههای سطح A بهراحتی میتوانند بهسمت B باز شوند و تیغههای B بهراحتی میتوانند بهسمت A باز شوند (شکل 13(a)) درحالیکه تیغههای هر سطح بهسختی میتوانند بهسمت جانب مخالف باز شوند (شکل 13(b))، و در نوع دیگر، تیغههای هر سطح میتوانند بهراحتی بهسمت مخالفِ جانبی که سطح دیگر قرار دارد باز شوند درحالیکه بهسختی قادر به باز شدن بهسمت سطح دیگر میباشند (شکل 14).
.jpg)
.jpg)
.jpg)
پی نوشت ها :
[1] مبانی نظریهی الکترومغناطیس، جان ر. ریتس و فردریک ج. میلفورد و رابرت و. کریستی، ترجمهی صمیمی و جمشیدی و جمشیدیپور و علیزاده قمصری، مرکز نشر دانشگاهی
[2] فیزیک، هالیدی و رزنیک، ترجمهی گلستانیان و بهار، مرکز نشر دانشگاهی
فرمت PDF مقاله را در اینجا ببینید:
https://sites.google.com/site/essaysforrasekhoon/home/electriccurrent.pdf